Kia Optima: Description of ESCOptimum driving safety now has a name : ESC, the Electronic Stability Control.
ESC recognizes critical driving conditions, such as panic reactions in dangerous situations, and stabilizes the vehicle by wheel-individual braking and engine control intervention. ESC adds a further function known as Active Yaw Control (AYC) to the ABS, TCS, EBD and ESC functions. Whereas the ABS/TCS function controls wheel slip during braking and acceleration and, thus, mainly intervenes in the longitudinal dynamics of the vehicle, active yaw control stabilizes the vehicle about its vertical axis. This is achieved by wheel individual brake intervention and adaptation of the momentary engine torque with no need for any action to be taken by the driver. ESC essentially consists of three assemblies : the sensors, the electronic control unit and the actuators. The stability control feature works under all driving and operating conditions. Under certain driving conditions, the ABS/TCS function can be activated simultaneously with the ESC function in response to a command by the driver. In the event of a failure of the stability control function, the basic safety function, ABS, is still maintained.

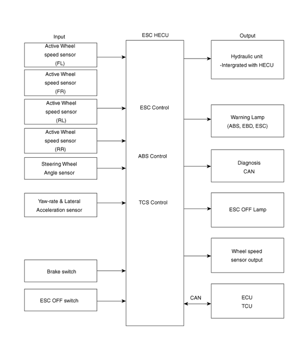
ESC system includes ABS/EBD, TCS and AYC function.
ABS/EBD function : The ECU changes the active sensor signal (current shift) coming from the four wheel sensors to the square wave. By using the input of above signals, the ECU calculates the vehicle speed and the acceleration & deceleration of the four wheels. And, the ECU judges whether the ABS/EBD should be actuated or not.TCS function prevents the wheel slip of drive direction by adding the brake pressure and engine torque reduction via CAN communication. TCS function uses the wheel speed sensor signal to determine the wheel slip as far as ABS function. AYC function prevents unstable maneuver of the vehicle. To determine the vehicle maneuver, AYC function uses the maneuver sensor signals(Yaw Rate Sensor, Lateral Acceleration Sensor, Steering Wheel Angle Sensor).
If vehicle maneuver is unstable (Over Steer or Under Steer), AYC function applies the brake pressure on certain wheel, and send engine torque reduction signal by CAN.
After the key-on, the ECU continually diagnoses the system failure. (self-diagnosis)If the system failure is detected, the ECU informs driver of the system failure through the BRAKE/ABS/ESC warning lamp. (fail-safe warning)


ESC Operation ModeHeadlight leveling device
Automatic type
It is automatically adjusted the headlight beam level according to the number
of the passengers and the loading weight in the luggage area.
And it offers the proper headlight beam u ...
Repair procedures
On-vehicle Inspection
•
Check that the battery cables are connected
to the correct terminals.
...
Sunvisor
Use the sunvisor to shield direct light through the front or side windows.
To use the sunvisor, pull it downward. To use the sunvisor for the side window,
pull it downward, unsnap it from the bra ...