Kia Optima: Installation
| 1. |
With a knife, scrape the old
adhesive smooth to a thickness of about 2mm (0.08 in.) on the bonding surface
around the entire rear window glass opening flange :
| A. |
Do not scrape down to
the painted surface of the body; damaged paint will interfere with
proper bonding. |
| B. |
Remove the rubber dam
and fasteners from the body. |
| C. |
Mask off surrounding
surfaces before painting. |

|
| 2. |
Clean the body bonding surface
with a sponge dampened in alcohol. After cleaning, keep oil, grease and
water from getting on the clean surface.

|
| 3. |
With a sponge, apply a light
coat of body primer to the original adhesive remaining around the windshield
opening flange. Let the body primer dry for at least 10 minutes.
| A. |
Do not apply glass primer
to the body, and be careful not to mix up glass and body primer
sponges. |
| B. |
Never touch the primed
surfaces with your hands. |
| C. |
Mask off the dashboard
before painting the flange. |

|
| 4. |
Apply a light coat of glass primer
to the outside of the fasteners.
| A. |
Never touch the primed
surface with your hand. If you do, the adhesive may not bond to
the glass properly, causing a leak after the tailgate glass is installed. |
| B. |
Do not apply body primer
to the glass. |
| C. |
Keep water, dust, and
abrasive materials away from the primer. |

|
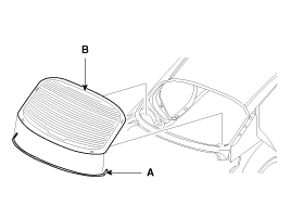
| 5. |
Paste the rear window glass molding
(A), and then install the rear window glass (B).

|
| 6. |
Pack adhesive into the cartridge
without air pockets to ensure continuous delivery. Put the cartridge in
a caulking gun, and run a bead of sealant (B) around the edge of the rear
window glass (A) as shown. Apply the adhesive within 30 minutes after applying
the glass primer. Make a slightly thicker bead at each corner.

|
| 7. |
Use suction cups (A) to hold
the rear window glass (B) over the opening, align it with the alignment
marks (C) made in step 15, and set it down on the adhesive. Lightly push
on the windshield until its edges are fully seated on the adhesive all the
way around. Do not open or close the doors until the adhesive is dry
| •
|
When installing
the rear window glass (B), set the rear glass service hole
(D) to the frame exactly. |
|

|
| 8. |
Let the adhesive dry for at least
3-4 hour, then spray water over the glass and check for leaks.
| •
|
Do not spray
to adhesive area directly. Spray water over the glass and
then spill water around the glass. |
|
|
| 9. |
Areas may leak. Let the glass
dry, then seal with adhesive.
| •
|
Let the vehicle
stand for at least four hours after glass installation.
If the vehicle has to be used within the first eight, it
must be driven slowly. |
| •
|
Keep the glass
dry for the first hour after installation. |
| •
|
Please have the
driver use caution and not drive vehicle along an uneven
dirt road or drive violently. |
|
|
| 10. |
Reinstall all remaining removed
parts.
| A. |
Rear window glass heater
connector (Refer to BE group - "Rear window defogger")
|
| B. |
Package tray trim (Refer
to the BD group- "Interior Trim")
|
| C. |
Rear pillar trim (Refer
to the BD group- "Interior Trim")
|
| D. |
Rear seat (Refer to
the BD group- "Rear Seat")
|
| E. |
Roof molding (Refer
to the BD group- "Panoramaroof")
|
|
•
Put on gloves to protect
your hands.
•
Be careful not to damage
the paint ...
See also:
Tie-down hooks (for flatbed towing)
CAUTION
Do not use the tie-down hooks for towing purposes. The hooks are designed ONLY
for transport tie-down. If the tie-down hooks are used for towing, the tie-down
hooks will be damaged ...
Mode selection
The mode selection button controls the direction of the air flow through the
ventilation system.
Every time you press the mode selection button, the mode will change as follows:
Refer to the i ...
Customer Complaint Analysis Check Sheet
There are several areas where a problem can occur: wiring harness, the radio, the
CD player, and speaker. Troubleshooting enables you to confine the problem to a
particular area.
...