Kia Optima: Electric WGT Control Actuator. Components and Components Location - Engine Control System - Engine Control/Fuel System - Kia Optima TF 2011-2026 Service ManualKia Optima: Electric WGT Control Actuator. Components and Components Location

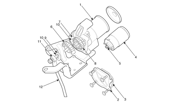
Components

1 . Housing
2 . Cover
3. Sealing Cover
4 . Motor
5. Pinion
6 . Shaft Gear
7 . PCB Assembly
8 . Middle Gear
9 . Lever
10 . Lever Pin
11 . Rod - End
12 . Rod


Electric WGT Control Actuator. Description and Operation
Desrcription The Electric WGT Control Actuator is installed on the turbocharger.It operates the vain in the Waste Gate Turbocharger (WGT) and regulates the compressed air amount by the ECM's P ...

Electric WGT Control Actuator. Specifications
Specification [EWGA Position Sensor] Position Output  Voltage[V] Operating Angle[°] Range of Rod [mm], reference Mechanical Close end ...

See also:

Placing a passenger seat belt into the auto lock mode
The auto lock mode will help prevent the normal movement of the child in the vehicle from causing the seat belt to loosen and compromise the child restraint system. To secure a child restraint s ...

To defrost outside windshield
1. Set the mode selection switch to the position. When you select position, the system automatically turns on the outside (fresh) air mode. 2. Set the temperature control knob to the extreme ...

Engine temperature gauge
This gauge shows the temperature of the engine coolant when the ignition switch is ON. Do not continue driving with an overheated engine. If your vehicle overheats, refer to “If the engine ov ...

Copyright www.kiopman.com 2026