Kia Optima: Replacements
Movable glass Replacement
| 1. |
Open the movable glass fully. |
| 2. |
Remove the folding cover (A).

|
| 3. |
After loosening the mounting
screws, then remove the movable glass (A).
| •
|
Do not damage
the screws. |
|

|
| 4. |
Installation is the reverse of
removal. |
Motor Replacement
| • |
Confirm the position
of guide whether it is closed or not when you remove the motor. |
|
| 1. |
Remove the roof trim. (Refer
to the BD group - "Roof Trim")
|
| 2. |
After loosening the mounting
screws, then remove the motor (A).

|
| 3. |
Installation is the reverse of
removal.
| •
|
Make sure to
initialize the motor. |
|
|
Wind deflector Replacement
| 1. |
Open the movable glass fully. |
| 2. |
Using a screwdriver or remover,
remove the roof molding (A).
| •
|
Roof molding
needs to be changed to insure product quality. |
|

|
| 3. |
Remove the wind deflector mounting
bracket (A).

|
| 4. |
Remove the wind deflector bar
(A).

|
| 5. |
Installation is the reverse of
removal. |
Roll Blind Replacement
| 1. |
After loosening the mounting
screws, then remove the roll blind lower bracket (A).

|
| 2. |
Remove the roll blind (A) by
pulling it at a right angle.
| •
|
When your removing
it, be careful of the roll blind edge that (C) is up against
the frame of the vehicle because it has tension on it. |
|

|
| 1. |
Installation of the roll blind
(A).
| •
|
When you assemble
the roll blind bracket, install the roll blind by pulling
about 15~20cm (5.9055~7.8740 inch) out because the screw
(B) is up against the roll blind. |
| •
|
When the tension
of roll blind is removed, push an edge (C), turn it counter
clockwise 19~21. Install it by removing the tension (at
rest). |
|

|
| 2. |
Install the screws to the roll
blind lower bracket (A).

|
Panoramaroof Assembly Replacement
| 1. |
Remove the following items :
| A. |
Front seat (Refer to
the BD group - "Front Seat")
|
| B. |
Rear seat (Refer to
the BD group - "Rear Seat")
|
| C. |
Interior trim (Refer
to the BD group - "Interior Trim")
|
| D. |
Roof trim (Refer to
the BD group - "Roof Trim")
|
| E. |
Rear window glass (Refer
to the BD group - "Rear Window Glass")
|
| F. |
Roof antenna (Refer
to the BE group - "AVN Head Unit")
|
|
| 2. |
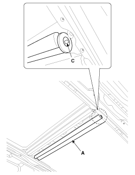
Loosen the panoramaroof mounting
nuts (A).
Tightening torque :6.9
~ 10.8 N.m (0.7 ~ 1.1 kgf.m, 5.1 ~ 8.0 lb-ft)
|
[Front]
![[Rear]](images/books/1521/svgbd0275d.gif)
[Rear]

|
| 3. |
Using a screwdriver or remover,
remove the roof molding (A).
| •
|
Roof molding
needs to be changed to insure product quality. |
|

|
| 4. |
Open the movable glass fully. |
| 5. |
Remove the wind deflector mounting
bracket (A).

|
| 6. |
Remove the wind deflector bar
(A).

|
| 7. |
Attach the tape to front glass
(A). |
| 8. |
Using a pliers (B), grab the
front glass (A) edge and break.
| •
|
Wear safety goggles
and eye protection. Watch out for glass. |
|

| •
|
Front glass is
need to changed to new product surely. |
|
|
| 9. |
Remove the front glass (A).

|
| 10. |
Open the space between chassis
and sunroof using flathead screwdriver, and then cut the sealant of front
using a tool (09816-2P121, 09816-2P122).
| •
|
This blade has
a inclination to push upward.(09816-2P121, 09816-2P122) |
| •
|
This blade has
a inclination to push downward. (09816-2P123, 09816-2P124) |
|

| •
|
Be careful not
to damage the panoramaroof when inserting tools between
the chassis and panoramaroof. |
|
|
| 11. |
Open the space between chassis
and sunroof using flathead screwdriver, and then cut the sealant of aside
using a tool (09816-2P121, 09816-2P122).
| •
|
This blade has
a inclination to push upward.(09816-2P121, 09816-2P122) |
| •
|
This blade has
a inclination to push downward. (09816-2P123, 09816-2P124) |
|

| •
|
Be careful not
to damage the panoramaroof when inserting tools between
the chassis and panoramaroof. |
|
|
| 12. |
Open the space between chassis
and sunroof using flathead screwdriver, and then cut the sealant of rear
using a tool (09816-2P127).
| •
|
Be careful of
breaking center hole (B). |
| •
|
Be careful of
breaking nut hole (C). |
|

| •
|
Be careful not
to damage the panoramaroof when inserting tools between
the chassis and panoramaroof. |
|
|
| 13. |
Cut the tape between the panoramaroof
and the body. remove the panoramaroof (A).
| •
|
Work with a minimum
of four persons when lifting the panoramaroof on or off
the vehicle. |
|

|
| 1. |
With a knife, scrape the old
adhesive smooth to a thickness of about 2mm (0.08 in.) on the bonding surface
around the entire panoramaroof opening flange
| •
|
Do not scrape
down to the painted surface of the body; damaged paint will
interfere with proper bonding. |
| •
|
Remove the rubber
dam and fasteners from the body. |
| •
|
Mask off surrounding
surfaces before painting. |
|

|
| 2. |
Clean the body bonding surface
with a sponge dampened in alcohol. After cleaning, keep oil, grease and
water from getting on the clean surface.

|
| 3. |
Remove left glasses parts of
panoramaroof panel (A) by using a cutter knife (B).

|
| 4. |
With a sponge, apply a light
coat of body primer to the original adhesive remaining around the windshield
opening flange. Let the body primer dry for at least 10 minutes :
| •
|
Do not apply
glass primer to the body, and be careful not to mix up glass
and body primer sponges. |
| •
|
Never touch the
primed surfaces with your hands. |
| •
|
Mask off surrounding
surfaces before painting. |
|

|
| 5. |
Apply a light coat of glass primer
to the outside of the fasteners.
| •
|
Never touch the
primed surface with your hand. If you do, the adhesive may
not bond to the glass properly, causing a leak after the
windshield glass is installed. |
| •
|
Do not apply
body primer to the glass. |
| •
|
Keep water, dust,
and abrasive materials away from the primer. |
|

|
| 6. |
Pack adhesive into the cartridge
without air pockets to ensure continuous delivery. Put the cartridge in
a caulking gun, and run a bead of sealant (B) around the edge of the panoramaroof
(A) as shown. Apply the adhesive within 30 minutes after applying the glass
primer. Make a slightly thicker bead at each corner.

|
| 7. |
Fix the panoramaroof to center
hall (A) of body, carefully install the panoramaroof to the body frame.
| •
|
Work with a minimum
of four persons when lifting the panoramaroof on or off
the vehicle. |
|

|
| 8. |
Check the Clearance and gap for
each side after installing the panoramaroof.
Section
|
Clearance
|
Gap
|
Front edge
|
A-A
|
2 ± 1 mm
|
4.9 ± 1 mm
|
(0.0787 ± 0.0394 in)
|
(0.1929 ± 0.0394 in)
|
Rear edge
|
B-B
|
1.2 ± 1 mm
|
4.5 ± 1 mm
|
(0.0472 ± 0.0394 in)
|
(0.1772 ± 0.0394 in)
|
Side edge
|
C-C
|
0 ± 1 mm
|
4.1 ± 1 mm
|
(0 ± 0.0394 in)
|
(0.1614 ± 0.0394 in)
|

|
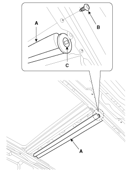
| 9. |
Install the nuts (A) to the panormaroof.
Tightening torque :6.9
~ 10.8 N.m (0.7 ~ 1.1 kgf.m, 5.1 ~ 8.0 lb-ft)
|
[Front]
![[Rear]](images/books/1521/svgbd0287d.gif)
[Rear]

|
| 10. |
Open the movable glass fully. |
| 11. |
Pack adhesive into the cartridge
without air pockets to ensure continuous delivery. Put the cartridge in
a caulking gun, and run a bead of sealant (B) around the edge of the front
glass (A) as shown. Apply the adhesive within 30 minutes after applying
the glass primer. Make a slightly thicker bead at each corner

|
| 12. |
Install the front glass (A).

|
| 13. |
Install the wind deflector bar
(A).

|
| 14. |
Install the wind deflector mounting
bracket (A).

|
| 15. |
Install the roof molding (A).
| •
|
Roof molding
needs to be changed to insure product quality. |
|

|
| 16. |
Close the movable glass fully. |
| 17. |
Check the Clearance and gap for
each side after installing the front glass (A).
Section
|
Clearance
|
Gap
|
Front edge
|
A-A
|
2 ± 1 mm
|
4.9 ± 1 mm
|
(0.0787 ± 0.0394 in)
|
(0.1929 ± 0.0394 in)
|
Rear edge
|
B-B
|
0 ± 1 mm
|
5.7 ± 1 mm
|
(0 ± 0.0394 in)
|
(0.2244 ± 0.0394 in)
|
Side edge
|
C-C
|
0 ± 1 mm
|
0 mm
|
(0 ± 0.0394 in)
|
(0 in)
|

|
| 18. |
Scrape or wipe the excess adhesive
off with a putty knife or towel. To remove adhesive from a painted surface
or the windshield, wipe with a soft shop towel dampened with alcohol. |
| 19. |
Let the adhesive dry for at least
one hour, then spray water over the roof and check for leaks. If a leak
occurs, let it dry, then seal with sealant :
| A. |
Let the vehicle stand
for at least four hours after windshield installation. If the vehicle
must be driven within 4 hours, it must be driven slowly. |
| B. |
Keep the windshield dry
for the first hour after installation. |
|
| 20. |
Reinstall all remaining removed
parts. Install the rearview mirror after the adhesive has dried thoroughly.
Advise the customer not to do the following things for two the three days
:
| A. |
Slam the door with all
the windows rolled up. |
| B. |
Twist the body excessively
(such as when going in and out of driveways at an angle or driving
over rough, uneven roads). |
|
| 21. |
Installation the following items
| A. |
Roof antenna (Refer
to the BE group - "AVN Head Unit")
|
| B. |
Rear window glass (Refer
to the BD group - "Rear Window Glass")
|
| C. |
Roof trim (Refer to
the BD group - "Roof Trim")
|
| D. |
Interior trim (Refer
to the BD group - "Interior Trim")
|
| E. |
Rear seat (Refer to
the BD group - "Rear Seat")
|
| F. |
Front seat (Refer to
the BD group - "Front Seat")
|
|
Inspect Glass Alignment
1.
Check for abnormal noise or bending
during operation.
2.
With the sunroof fully closed,
check for water leakage.
3.
The roof ...
See also:
Suggestions for Economical Operation
Your vehicle’s fuel economy depends mainly on your style of driving, where you
drive and when you drive.
Each of these factors affects how many miles (kilometers) you can get from a
gallon (lit ...
Illuminated ignition switch
Whenever a front door is opened, the ignition switch will illuminate for your
convenience, provided the ignition switch is not in the ON position. The light will
go off immediately when the igni ...
Uniform Tire Quality Grading
The following information relates to the tire grading system developed by the
National Highway Traffic Safety Administration (NHTSA) for grading tires by tread
wear, traction and temperature perfo ...