Kia Optima: Valve Body. Components and Components LocationComponents Location

|
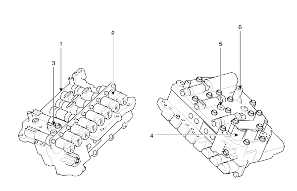
1. PCV adjust screw 2. Solenoid valve 3. Oil temperature sensor |
4. Accumulator 5. Low & reverse brake(LR/B) pressure flow hole 6. Under drive brake (UD/B) pressure flow hole |
Valve Body Flow

|
1. To cooler 2. From cooler 3. Lubrication(rear) 4. Overdrive pressure 5. Reducing pressure (red2) 6. Reducing pressure (red1) 7. From damper pressure 8. To damper pressure |
9. Lubrication(front) 10. 35R clutch pressure 11. 26 brake pressure 12. From oil pump 13. To oil pump 14. Underdrive pressure 15. Low & reverse pressure |
Valve Body. Description and OperationBody Side Moldings. Repair procedures
Replacement
Roof Molding Replacement
•
When prying with a flat-tip
screwdriver, wrap it with protective tape, an ...
Diagnosis procedure by using diagnostic device
As manual for diagnosis methods by using diagnosis device, the main contents are
as follows:
1.
Connect self-diagnosis connector(16pins)
located in the lower of driver side crash pad to ...
When Your Vehicle Is Being Towed By Another Vehicle Other Than a Tow Truck (in
case of an emergency)
Turn the ignition switch to ACC so the steering wheel isn’t locked.
Place the transaxle shift lever in N (Neutral).
Vehicles equipped with automatic transaxles should not exceed 28 mph and
...