Kia Optima: Disassembly - Steering Column and Shaft. Repair procedures - Electric Power Steering - Steering System - Kia Optima TF 2011-2025 Service ManualKia Optima: Disassembly

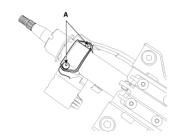
Universal joint assembly

1. Loosen the bolt (A) and then disconnect the universal joint assembly from the steering column assembly.

2. Reassembly is the reverse of the disassembly.
Key lock assembly
1. Make a groove on the head of special bolts (A) by a punch.
2. Loosen the special bolt using a screw driver and then remove the key lock assembly from the steering column assembly.

3. Reassembly is the reverse of the disassembly.

Replacement
1. Disconnect the battery negative cable from the battery and then wait for at least 30 seconds. 2. Turn the steering wheel so that the front wheels can face straight ...

Inspection
1. Check the steering column for damage and deformation. 2. Check the joint bearing for damage and wear. 3. Check the tilt bracket for damage and ...

See also:

Front Bumper. Repair procedures
Replacement • Put on gloves to protect your hands. • Use a plastic panel removal ...

Outside Rearview Mirrors
Be sure to adjust mirror angles before driving. WARNING - Convex Mirror • The right outside rearview mirror is convex. Objects seen in the mirror are closer than they appear. When changing ...

Cleaning the Lap/Shoulder Belt Webbing
Clean the belt webbing with any mild soap solution recommended for cleaning upholstery or carpet. Follow the instructions provided with the soap. Do not bleach or re-dye the webbing because this m ...

Copyright www.kiopman.com 2025